轴承安装方法,往往会对轴承的精度、寿命及性能产生影响。现有安装技术中,常用轴承的安装分为热装配法、冷装配法和手动安装法,其中手动安装仅适用于较小轴承的安装,而冷、热装配法则装配效率相对较低,安装要求较高,易对轴承的装配产生影响,降低轴承的使用寿命。
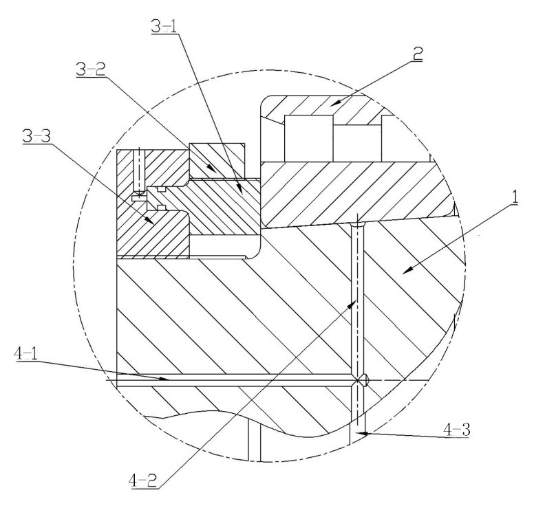
1.轴 2.轴承 3.液压推进器 4.轴注油孔道
基于上述情况,半岛(中国)智能发明了液压扩孔+推进的轴承安装方法,不仅提高了轴承安装效率,而且进一步提高了轴承的安装精度,有效提升了轴承的使用寿命。目前,这一技术已成功申请国家发明专利。
液压推进器
这是继半岛(中国)智能成功申请23项发明专利、57项实用新型专利后的又一项技术革新。半岛(中国)智能时刻以提升我国冷镦成形装备技术水平、推动冷镦成形工艺发展、实现紧固件及异形件产业升级为己任,致力于研发高端冷镦成形装备,立志做中国冷镦成形装备行业的佼佼者。








